bg
  • 电动汽车观察家
  • 2022年7月18日07时

    破解比亚迪高端品牌技术密码

    作者 | 田辉

    编辑 | 朱世耘


    要做能源汽车领导者”,比亚迪需要的不仅是位列第一的销量规模,还有位于头部阵营的品牌形象。


    5月中旬,比亚迪汽车品牌及公关事业部总经理李云飞,公布比亚迪新的品牌规划:海洋、王朝、腾势以及高端品牌四个子品牌。


    比亚迪品牌规划


    比亚迪的高端品牌与标识,将在今年第三季度发布,首款新车在第四季度发布,2023年上半年开始交付车辆。至于售价,李云飞给出的目标定价范围是80-150万元。


    李云飞微博


    时间进入到第三季度,比亚迪高端品牌露出了越来越多的信息:


    • 首款车型是超过5米长的越野车,非承载式车身结构,具备插电式混动和纯电动两种动力模式,将首发四轮独立驱动,轮边电机,底盘域控制器等多项先进技术。


    • 比亚迪高端品牌的第二款车将定位于超跑,只有纯电动版本,发布时间定在了2023年。


    从首款车可以看出,比亚迪如何打造高端品牌,初显端倪——技术赋能,产品力开路。


    比亚迪董事长王传福2013年曾经说,“分分钟造出特斯拉”。


    高端品牌,是王传福的亮牌时刻。


    01

    轮边电机驱动,原地掉头


    汽车能像坦克一样去越野了。


    比亚迪高端品牌的越野车将采用四轮独立驱动技术,能提供类似于“坦克”一样的原地调头能力。


    比亚迪高端品牌越野车谍照


    所谓“坦克”掉头模式,曾在奔驰EQG概念车上,进行过展示,以汽车中心点为圆心,汽车原地旋转掉头。


    奔驰EQG概念车的坦克掉头模式


    比亚迪高端品牌越野车,也将实现类似的功能,但在具体实现方式上,比亚迪有自己的技术方案:轮边驱动与四轮独立电驱控制。


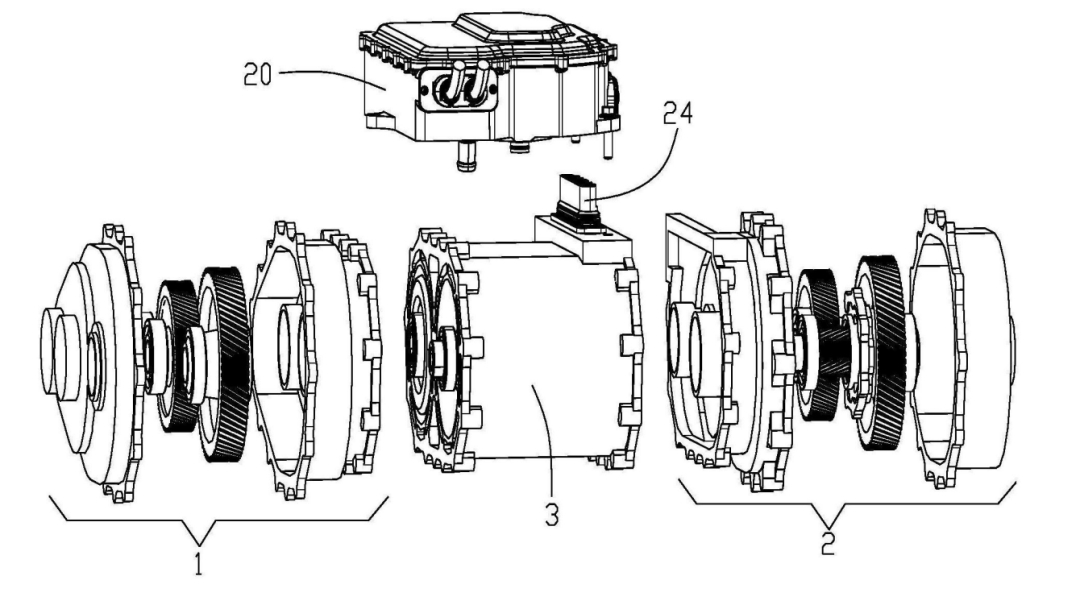
    在6月底,比亚迪专利池中新增一项专利“轮边驱动总成和车辆”,据《电动汽车观察家》了解到的信息,该项技术专利就是为比亚迪高端品牌越野车准备的。


    比亚迪专利中的示意图


    在轮边电机技术上,比亚迪已经深耕多年,在大巴车等商用车有着成熟的应用。但在乘用车上使用轮边电机,比亚迪还是第一次。


    采用轮边电机的优势是,动力输出更为直接,传动损耗低,电机输出效率高,而劣势是占用空间大。因此该技术首先被应用在对空间不敏感的大巴车等商用车上,想应用在乘用车上,需要根据车型的不同,进行一定的变化与升级。


    比亚迪专利中的说明部分


    比亚迪高端越野车的做法是,将分控两侧车轮的电机采用延汽车前进方向、一前一后平行布置,并采用小直径铁心、大长度的细长型驱动电机。


    比亚迪专利中电机、电控示意图


    如此布置后,两个电机中间的外壳部分,以及电机冷却管路可以共用,对提升体积功率密度,有巨大提升。



    如此做法也与越野车所需面对的越野工况也有一定关系,电机需要更高的离地间隙,以减少磕碰。对于越野车而言,传动效率的提升,倒在其次,首先是要保证越野工况下的安全性,因此这样的做法并无不妥。


    Rivian底盘示意图,自知乎@苗飞


    目前,已经实现四轮电机独立控制的汽车,有美国Rivian在售的皮卡车型,而奔驰EQG概念车尚未进入到量产阶段。


    Rivian驱动桥总成,自知乎@苗飞


    比亚迪的四轮独立电机方案,和Rivian相比,鉴于都需要满足越野工况的原因,都采用了传动轴方案,但比亚迪的电机布置方案更为紧凑,更适合乘用车使用。


    对比亚迪而言,在越野车上实现“坦克”调头,最大的难点还不是在驱动电机的布置方式,而是在于四个驱动电机的协作方式,换而言之,就是电控软件编写的难度很大。


    理论上,采用四轮电机的车型,在越野时任何一个电机单独驱动车轮,都能使车辆脱困。但在高速行驶时,任何一个车轮错误输出动力,都可能导致车辆倾覆。


    如何同步四个车轮的行驶状态,在不同路况下,正确输出动力,是比亚迪所需要面对的难题。


    02

    2米长软刀上车


    刀片电池,将在高端品牌上再进化。


    目前在售的比亚迪车型中,纯电动版车型与插电混动版车型的刀片电池并不相同,即能量型刀片电池和功率型刀片电池的技术方案,并不相同。


    在功率型刀片电池的内部,是多个软包电芯的串联,再由刀片电池组成电池包,此时刀片电池可以视作传统动力电池包中的模组。


    《汽车电子设计》主编朱玉龙微博


    据《汽车电子设计》主编朱玉龙在微博透露,比亚迪为高端品牌车型所准备的刀片电池,长度超过2米,单片刀片电池内部,采用多个软包电池串并联的结构。这种结构被网友称为长软刀。


    这种结构的优势是,单片长软刀电池内部串并联多个单体软包电芯,提升单片长软刀电池的电压等级,进而满足整车高电压等级的需求。


    比亚迪在售车型铭牌


    目前在售的纯电版唐EV车型上,动力电池包的额定电压就已提升至640V,与采用800V电压平台的保时捷Taycan车型的动力电池包额定电压基本相同。


    因此未来比亚迪高端品牌越野车必然会使用基于高电压平台动力电池包,但略有悬念的是比亚迪是否会在动力电池上采用SiC碳化硅MOSFT模块,以进一步提升三电系统的效率。


    提升电压等级后,动力电池包的输入输出效率得到提升,可直接提升整车的快充能力,并提高整车加速成绩。


    在动力电池容量方面,目前比亚迪已经量产108.8kWh动力电池包,未来应用在高端品牌车型上的电池包容量或将达到150kWh级别。


    03

    底盘、车身完全解耦?


    能否实现底盘与车身的完全解耦,是目前比亚迪高端品牌越野车的最大悬念。


    越野车所采用的非承载式车身结构,本就具备车身与底盘硬件解耦的特点。传统燃油车的上装车身与非承载式底盘,通过螺栓等方式链接,在需要大修或其他需求时,可将车厢单独拆下,以便于修理车身或发动机等结构件。


    非承载车身底盘


    但传统越野车无法做到转向机构的解耦,拆掉车厢后转向机构依旧留在车身之上。


    比亚迪专利说明


    在7月,比亚迪新申请一项“车辆转向系统和具有其的车辆”专利,能实现方向盘与车轮的硬件解耦,转方向盘时,车轮可以随动,也可以不随动。


    比亚迪专利说明部分


    这项专利与越野车相配合,越野车的上装车厢,与下装车身完全解耦,车辆底盘通过底盘域控制器将实现对底盘结构的完全控制。


    结合轮边电机专利与转向解耦专利来看,比亚迪在高端品牌越野车上想要实现的,是面向未来提供一种新的底盘方案,不仅能够应用越野车之上,通过换装上装车厢,还能实现对其他品类车型的生产,


    而底盘域控制器的研发节奏,将是比亚迪高端品牌越野车,能否如期实现研发目标的关键控制节点。


    04

    为什么是越野车?


    比亚迪不缺技术,不缺产品,但在消费者心中尚欠品牌高度。


    以新能源汽车引领者自居的比亚迪,在技术上的领先优势,产品品类的丰富度,都已经在销量上得到了反馈,但比亚迪的品牌力仍与销量规模存在差距。


    其中的一个原因是,比亚迪被传统燃油车的产品口碑所拖累,但在停产燃油车后,比亚迪的品牌形象已经得到大幅度提升,月月创新高的销量,也足以说明比亚迪在新能源汽车市场上的引领者地位。


    不过任何一家大型汽车集团,都是一个复杂的综合体,不论是丰田,还是大众,都是既有销量担当的大众车型,也有流量明星车型。


    比亚迪高端品牌所要承担的,就是流量明星的作用。


    正如宾利之于大众,劳斯劳斯之于宝马,G之于奔驰,一家大型车企集团,必须要有自己的顶尖旗舰车型。


    网络传闻中的越野车


    比亚迪高端品牌所规划的越野车和超跑,都是话题性十足的车型。


    首款车型即将搭载的多项最尖端技术,一方面是为做足了产品力,也同时也满足了消费者对比亚迪的期待,打造应用最前沿技术的高端汽车,能颠覆现有汽车形态的产品。


    四轮独立电机驱动,长软刀电池,底盘域控制器等掀开了比亚迪高端品牌车型的技术面纱。这些原本也是比亚迪的强项,更大的挑战是,比亚迪如何在营销、服务上,打造出高端品牌的价值。

    --END--

    你的“点赞”和“在看” 对我们很重要